第二十二章 海相组沉积相
第一节 海洋沉积环境与沉积特征
一、海洋沉积环境
海洋是指被大面积海水淹没的地区,具有硅镁层薄层地壳。海洋总面积约为3.6x108km²,占地球总面积的70.8%。海水的总体积约为13.7x108 km3,占地球总水量的97%。海洋是沉积物堆积的重要场所,海洋环境与大陆环境有着明显的不同,诸如在物理化学条件、水动力状况、地貌特征等方面,都有其自身的特点。
(一) 海底地形与海水深度
海洋环境明显不同于大陆环境,除了物理化学条件存在明显差异外,水底地形也存在明显不同。海底地形可细分为大陆架 (陆棚)、大陆坡、陆隆和大洋盆地等地貌单元(图22-1)。
大陆架 (陆棚) 是指围绕大陆边缘的、平坦的浅水沉积台地,平均坡度为 0.1°,宽度为0~1500km, 平均为74km, 水深为20~550m, 绝大部分陆棚水深在200m以内, 平均为133m。现代海洋陆棚面积约2x107km2,占海洋总面积的7.5%,是海洋沉积最集中和最活跃的地区。
大陆坡是大陆架边缘 (陆棚坡折带) 向大洋倾斜的部分,坡面崎岖不平,坡度为4°~7°,最大可达20°以上, 宽度为20~90km, 深度为200~2450m, 平均深为1270m。陆坡上常具有洼地、阶梯状地形、孤立山或被大量的海底峡谷所切穿。
陆坡下部为陆隆,它是陆坡与深海盆地间的平缓过渡区,坡度为0.01°~0.07°,宽达300~400km,水深约1400~3700m,常是浊流或陆坡滑坍的碎屑堆积于深海平原边部而成,通常也称大陆隆起。
陆棚、陆坡、陆隆合称为大陆边缘,是大陆的水下延伸部分,为大陆与深海盆地间的过渡区。
大洋盆地面积广阔、深度巨大、地貌形态多样,占全部海洋面积的2/3,它包括深海盆地、海岭、海峰、火山脊等,其中主要部分为水深达4~5公里的深海盆地,太平洋马里亚纳海沟水深大约 11000m。深海平原又是深海盆地中最平坦的部分,坡度一般为1/1000,甚至1/10000。
大陆坡和大洋盆地沉积作用较为缓慢,沉积物数量较少。
(二) 海水的物理化学条件
现代海洋表面温度变化范围为-18~28℃,比大陆温度变化范围 (-60~80℃) 小,大洋深处的温度不超过2~3℃。海水的温度受纬度、深度和海流等因素的影响,故不同海域有所不同。从赤道到两极,表层海水温度逐层递减。赤道平均温度大于26℃,而极地温度低至-2~-1℃。
海水是热的不良导体,水中的热传递较慢。从表面水层向下至 100m水深,受大气环境、波浪及海流的影响,水温变化不明显,这个深度的水层称为均匀混合层。100~1000m水深的水温变化明显,称为温跃层。深海水温变化不大,一般为0~4℃。

海水的压力变化范围较大, 从海水表面的1atm (1atm=101.325kPa), 到深达10km的海底, 其压力可增至 1000atm。
海水的平均含盐度为3.5%,其中溶解了约80多种元素所组成的盐类,主要为氯化物,其次为硫酸盐和少量碳酸盐及其他盐类。在海岸地带,因河水注入、大量生物活动和化学沉积作用的影响,海水盐度变化明显。影响海水盐度变化的主要因素有大气降水、河流注入、蒸发作用以及结冰河融冰等。海水温度和含盐度的变化,直接影响着生物群落的发育和沉积物的性质。
海水中可溶解一定量的二氧化碳和氧,随深度增加,溶解的二氧化碳增多,氧减少。
海水的密度高于大陆水体。海水密度直接影响着物质的搬运和沉积,如三角洲的形成就与海水的密度有直接关系。海水密度的变化亦是引起海水运动的因素。
海水的pH值介于7.26~8.40之间,一般为8左右,属弱碱性介质; 而大陆水体,除咸水湖泊和盐湖外,一般为酸性介质。海水 pH值的变化主要与HCO3-和CO32-含量以及生物的活动有关。pH值的高低直接影响着化学物质的溶解和沉淀。铁的溶解度在pH=6时比在pH=8.5时大十万倍,故铁在弱酸性的大陆水体中呈溶解状态,这种水一旦进入海洋,大部分铁在入海口附近的弱碱性海水中沉淀下来,现代海水中铁的平均含量大大低于河水中铁的含量,其原因就在于此。海水中的 Eh值主要受含氧量控制,一般是海水浅处含氧多,Eh值高,为氧化环境; 深处含氧少,Eh值低,为还原环境,是形成烃源岩的良好环境。由于底流或浊流作用,在深海中也能造成有氧环境。
(三) 海洋的水动力状况
海水的运动可概括为波浪、潮汐和海流3种形式,统称为水动力作用。它是海洋中发生一切作用的决定因素,控制着沉积物的沉积和分布。
“大海无风三尺浪”,这是对海洋波浪作用的最好写照。海洋的波浪与湖泊的不同就在于海洋水域辽阔,风的吹程长,波浪规模巨大。它是海洋中产生侵蚀、搬运、沉积作用的主要动力,尤以在海岸附近最为显著。在这里它塑造着不同的海岸类型,改造和重新分配着沉积物。波浪触及海底的位置称为浪底 (水深为1/2波长处,海洋波浪波长一般为40~80m)。在大于浪底的较深水地区,波浪作用不明显。
海洋有潮汐作用,这是与大陆水体的又一重要区别。潮汐引起海面水位的垂直升降称潮位 (潮差),引起海水的水平移动称潮流。潮位的升降扩大了波浪对海岸作用的宽度和范围,形成潮间带沉积环境; 而潮流对海底沉积物的改造、搬运、堆积起着重要作用,尤以近岸浅海地区最为显著。潮汐水流具有向海和向岸的双向特点,潮汐水位脉动变化,可有全日潮和半日潮。潮位小于2m的地区,称为小潮差地区; 潮位在2~4m的地区,称为中潮差地区;潮位大于6m的地区,称为大潮差地区。
由地球重力场或海水温度、盐度分布不均产生密度梯度而引起的海水流动,称为海流,其搬运作用要比波浪、潮汐大得多。尤其对粘土等细粒沉积物,可进行长达数百至数千公里的长途搬运,只是由于粘土物质的絮凝作用和有机物质的粘结作用,它们才在近岸陆棚区沉积下来,否则粘土物质在经过长距离搬运后,就可能全部沉积于深海中去了。
(四) 海洋沉积环境及海相组划分
根据海底地形和海水深度,以及陆棚区地形、水深和潮汐、波浪作用的特点,可将海洋沉积环境细分为滨海、浅海、半深海和深海4种环境 (表22-1)。
表22-1 海洋沉积相划分
| 相 | 水 体 深 度 |
|---|---|
| 滨海相 (对应陆棚上部) | 最大风暴潮线至浪基面之间 |
| 浅海相 (对应陆棚下部) | 浪基面至陆棚边缘 (水深200m) |
| 半深海相 (对应大陆斜坡) | 水深200~2000m |
| 深海相(对应大洋盆地) | 水深 2000m以下 |
滨岸相 (浪基面之上) 又称海岸相或海滩相,位于潮上至波基面之间,波浪和潮汐作用明显,包括海岸沙丘、后滨、前滨、临滨等几个次级环境。浅海陆棚相 (浪基面之下至200m) 位于波基面以下的陆棚区,常受波浪作用影响,生物繁茂,向陆方向与滨岸相衔接,向海与半深海相毗邻。半深海相 (200~2000m) 和深海相 (大于2000m) 均位于较深水的半深海和深海地区。
根据海洋沉积物的性质,又可将海相组分为浑水沉积型和清水沉积型,前者以陆源碎屑沉积为主,是本节介绍的重点; 后者以碳酸盐沉积为主,将在碳酸盐岩沉积相中叙述。
二、海相组沉积的一般特征
(一) 岩石类型
海相组岩石类型极为丰富,如砾岩、砂岩、粉砂岩、粘土岩、碳酸盐岩等在海相组中广为分布,尽管它们在陆相组中都有出现,但其发育特征仍有不同。一般来说,海相组中各类岩石的厚度大、分布广、岩性稳定; 碎屑岩的结构成熟度和成分成熟度高、圆度及分选好。
(二) 沉积构造
海相组沉积中发育有各种类型的层理、波痕、雨痕、泥裂及其他沉积构造,由于各类沉积构造在判断沉积环境时的多解性,就很难确定哪种构造在海相组中是最特征的。然而某些构造的组合可能在海相组或海相组的某些部分发育是较为特征的。例如低角度的交错层理、槽状印模、滑动及流动构造在海相组中发育,而水平层理、粒度韵律层理等在深海盆地中发育,冲洗层理、槽状交错层理、波痕、雨痕、泥裂、盐类假晶在滨岸地区发育。
海相组沉积中常发育有生物遗迹或遗迹化石等生物活动形成的构造。事实证明,生活在相同环境的不同生物,一般对环境有相似的行为反应 (如不同底栖生物的钻孔、爬行),从而留下了大致相似的遗迹,它们也可以为环境的鉴别提供线索。例如在滨岸浅水区常发育垂直的生物潜穴 (虫孔) 和各种动物的足迹,在浅海陆棚区常发育水平的或倾斜的生物潜穴。
(三) 自生矿物
海绿石是海相组中常见的特征自生矿物,常与碎屑岩、颗粒石灰岩共生,纯泥岩和蒸发岩中罕见。一般认为它在弱碱性 (pH=7~8)、弱还原、盐度正常的海水中缓慢形成,强氧化、强还原环境和快速沉积作用对其形成不利。海绿石形成的深度范围为20~2000m,而以30~200m最佳; 其形成所要求的水温一般为15~20℃。在我国东海现代分选良好的细—中砂沉积物中,海绿石形成环境为水深大于100m、水温为 17~18℃、盐度为3.4%、水体偏碱性 (pH=8)。
有利于形成自生黄铁矿的强还原环境不利于海绿石的形成(陈丽蓉等,1978)。
鲕绿泥石亦是海相组的特征自生矿物,多形成于水温高于20℃的较暖的浅海中,分布局限于水深60m以内的热带浅海,深达150m者罕见。
自生磷灰石也是海相组中常出现的自生矿物,其形成深度范围一般在30~300m。大陆相组也可出现自生磷灰石,但数量少,且主要是由脊椎动物的骨骼组成,故可与海相成因者分开。
(四) 生物化石
不同种类的生物,对水体含盐度的适应能力不同。耐盐度有限的生物称狭盐性生物,属于典型的海相狭盐性生物有:红藻、绿藻、放射虫、球石藻、有孔虫、钙质及硅质海绵、珊瑚、腕足类、棘皮类、苔藓类、头足类,以及现代已灭绝的生物,如古杯类、层孔虫、软舌螺、三叶虫、锥石、竹节石、牙形石、笔石等,这些生物的化石为海相组所特有。
耐盐度广泛的生物称广盐性生物,如瓣鳃类、腹足类、介形虫、硅藻、蓝绿藻等,它们也可在海相组中出现,但并非海相组所特有。
海洋中生物的分布与海水的深度有密切关系 (图22–2)。海洋生物按其生活方式分为浮游生物、游泳生物、底栖生物三类。浮游生物包括浮游植物 (如硅藻、球石藻、马尾藻)和浮游动物,它们生活在广海的50~100m深的表层水中,在远离海岸的远海或远洋区数量较多,死亡后在深海区堆积而成化石。游泳生物是指能在海洋中自由游动的各种动物,在这一类里没有植物,它们常生活于50~100m深的水体,死亡后遗体沉降于不同深度的海底,并保存为化石。底栖生物的生活范围可从高潮线至深海海底,但以100m以上的海底最集中,100~200m浅海下部大为减少,半深海至深海底则就更少了。

三、海洋沉积过程和沉积作用
(一) 海岸水动力和沉积物搬运沉积特征
海岸环境是海洋水动力最强烈和最复杂的地区,波浪、潮汐和沿岸流强烈的冲刷、搬运和沉积海岸沉积物质,其作用强度要大于河流水流作用强度100倍。控制海岸沉积发育和变化的主要因素是波浪能量。在水动力强烈、复杂的滨岸地区,波浪以及潮汐、沿岸流强烈综合作用,使海岸沉积物发生搬运和沉积,形成不同的沉积序列。
海洋因风的吹程大,故其波浪的波长较大,一般为40~80m左右。波浪作用随水深加大而急剧减小,大致在1/2波长的水体深度,波浪作用已接近于零。因此,海洋波浪基准面大致在20~40m左右。海洋中也可出现波长为400m的巨浪,故一般认为200m水深是波基面的理论深度,也是划分浅海下限深度的根据之一。
从深水区到滨岸浅水地区,波浪触及海底,水体质点运动的圆形轨迹变为椭圆形,越接近海底,椭圆半径越小,并且椭圆的垂直半径小于水平半径,直到海底,水体质点仅发生往返运动。水体越浅,水体质点向岸运动速度大于向海运动的速度。这种速度不对称特征越明显,波浪变形作用越强烈 (图22-3)。

海岸带的不同环境和不同深度,波浪的特征及其对沉积物搬运、沉积作用的影响亦不相同。在滨外陆棚带,由风等因素引起的波浪称为涨浪,它因不能触及海底面,故对海底沉积物影响较少。至临滨带,海底处于浪基面以上,波浪因触及海底而使波能增加,波高增大,称为升浪。这时水体向岸运动速度虽略大于向海速度,但波浪向岸方向运动携带泥砂要克服重力作用,向海运动携带泥砂还另加有重力作用,且后者的力量大于前者,结果细粒泥砂向海运动,形成不对称沙纹,波脊可是直的或新月形的,从而形成向陆方向倾斜较陡的交错层理。随着波浪向岸传播,水深渐浅,波高逐渐增大,当水深为波高的两倍时,波浪开始倒卷和破碎,称为破浪,此地带亦称为破浪带,此带内波浪变形厉害,对海底的冲刷及对碎屑物质的簸选、淘洗强烈,波浪向岸的推动力克服重力和摩擦阻力,使较粗的碎屑向海岸方向运动,堆积成沿岸 (远岸) 沙坝。破浪带为高能带,破浪时形成大的涡流,使粗颗粒沿着椭圆轨迹平行于滨线呈跳跃式底载荷移动,而细的沉积物暂时呈悬浮状态移动 (图22–4),所以破浪带能量高,沉积物粗,可产生新月形和平坦床沙形态 (图22-5)。
从破浪带再向岸方向,水深相当于一个波高,波峰发生完全倒转和破碎,称为碎浪或涌浪,此带亦称碎浪带或涌浪带 (图22-4)。碎浪带的存在与否及其宽窄程度,主要受海滩坡度和潮汐状况的控制。海底坡陡,不形成碎浪带,破浪发生在岸边,形成拍岸浪;海底坡度平缓,可形成较宽的碎浪带; 中等坡度的海底,除高潮时无碎浪带外,其他时间都有碎浪带存在 (图22-6)。碎浪作用使波浪能量消失达90%以上,所以波浪破碎以后,除破浪向海岸产生的一种涌浪搬运较粗粒沉积物外,其他沉积物的运动是很少的(图22-4)。当碎浪或涌浪进入前滨带后,海水借惯性力冲向海岸,形成冲浪,称为冲浪带或冲流带,它包括惯性力作用下的进浪和重力作用下减速回返海中的退浪或回流。冲流带波浪反复地冲刷、淘洗,形成了成分成熟度和结构成熟度都较高的砂质海滩堆积。风暴浪时期,海水携带碎屑物质进入后滨带,在海滩外侧形成平行于海岸的、连续的线状沙脊,称为滩脊。


当波浪与海岸斜交时,在海岸坡度平缓的碎浪带,将产生与海岸几乎平行的沿岸流,沿着沿岸沙坝及海滩脊间的沟槽系统流动,经数米或数十米后,至沟槽末端则改变方向,近乎垂直地向海方向流去,形成裂流或离岸流 (图22–7)。沿岸流和裂流在海滩和沟槽中可形成各种形状和大小的波痕。
斜交海岸的波浪可使碎屑物质沿波浪作用力和重力这两者的合力方向移动,其移动的路径呈“之”字形。当波浪运动与海岸呈45°交角时,碎屑物质的搬运几乎平行海岸进行。波浪在纵向运动过程中,遇海岸发生转折或海湾水体加深,流速骤减,碎屑物质可形成各种形状的沙嘴。
滨岸环境中,波浪作用对碎屑物质的搬运方式和粒度分布亦起着明显的控制作用。从海岸沙丘向海岸方向的各种沉积都具有特征的粒度曲线,粒度概率曲线中的跳跃总体含量和段式均发生规律性变化 (图22–8)。

(二)浅海陆架水动力特征和沉积作用
浅海陆架地区水动力性质和作用强度变化都非常大,在滨岸带,波浪和沿岸流是活跃的地质营力,而在浅海陆架地区,却存在流向和强度都变化很大的潮汐、潮流、风暴流等多种水动力作用方式,但随着水深增加水动力作用强度减弱。
在许多浅海陆架地区,水流速度是很慢的,以致对沉积物表面没有产生任何重大影响,许多瓣鳃类介壳凹面朝上的优势方位就说明了这一点。在狭窄海和海峡的陆架中,可以出现很强的海流,这些地区的潮流、密度流或其他气象海流的流速可以达到 150cm/s或更大,从而形成移动的大波浪和巨波浪,如马六甲海峡、英吉利海峡和琼州海峡。
浅海风暴流是由季节性台风或飓风引起的风暴潮所产生的。这种风暴潮的强大动力冲刷着沿岸和近岸沉积,在风力减退时,风暴退潮流携带大量呈悬浮状态的沉积物向海方向搬运,形成一个向海流动的密度流。在正常浪基面 (正常浪底或晴天浪底) 和风暴浪基面 (风暴浪底) 之间,密度流中的沉积物发生再沉积作用,因风暴浪在此地区仍然影响到海底,故形成丘状交错层理砂岩。若密度流进入风暴浪底以下,可形成具鲍玛层序的正常浅海浊积岩。艾格 ( Ager,1973)把由风暴流作用形成的一套沉积物组合称为风暴岩,属于事件性沉积类型 (图22–9)。


(三) 半深海和深海水动力特征和沉积作用
半深海和深海沉积区是盆地中水动力作用强度最弱、水体最为安静的地区,主要的沉积作用就是由河流等营力将细粒沉积物搬运到半深海和深海的悬浮沉积物的沉积。但是,在半深海和深海沉积环境中还存在较强水动力作用方式的内波、等深流、浊流等。
等深流就是指沿海底等深线水平流动的底流,是由于地球旋转而形成的温盐循环底流,该底流平行海底等深线作稳定低速流动 (5~20cm/s)。大量的海洋调查发现,等深流是海底中一种非常重要而又十分特殊的地质营力,它不仅可以对洋底产生侵蚀作用,而且可以搬运沉积物,形成特殊的等深流沉积。等深流沉积物主要来源有陆源碎屑物质、生物成因的物质、重新悬浮的海底沉积物和火山物质等。它主要出现在水深2000m以下的大陆坡和陆隆等深水区, 流速慢, 沉积速率也很慢 (1~20cm/ ka), 沉积了厚 10~100cm、不同于浊积岩沉积特征的、由一个向上变粗的逆递变段和一个向上变细的正递变段构成的对称递变层序的等深流沉积 (第二十三章将有详述)。
低密度、高密度重力流 (浊流) 的沉积和搬运作用也是半深海、深海地区主要的事件沉积作用,将在第二十四章加以详述。
在半深海、深海沉积区,大型重力滑塌作用也能将巨量的沉积物从浅水区搬运到深水区沉积下来。
第二节 海相碎屑岩沉积模式
一、滨岸沉积特征
(一) 滨岸沉积环境划分
滨岸相位于浪基面及最高涨潮线之间。根据海岸环境特征,可划分为障壁型和无障壁型两类。障壁型滨岸环境发育障壁岛、潟湖、潮坪,其环境和沉积特征已属海陆过渡相组,这已在第二十一章作过介绍。这里重点介绍无障壁滨岸相。
无障壁滨岸相的沉积环境是无障壁岛遮挡、海水循环良好的开阔海岸带。进一步按照海岸水动力状况和沉积物类型分为砂质或砾质高能海岸及粉砂淤泥质低能海岸两种类型。它们的宽度随海岸带地形的陡缓而定。在陡岸处宽度仅数米,在平缓海岸其宽度可达十公里以上。古代海岸因岸线不断迁移,可形成宽而厚的砂质海岸沉积,成为油气储集的良好场所。
高能海岸环境以砂质类型者居多,砾质者少见。按海岸地貌特征可划分为海岸沙丘、后滨、前滨、临滨等几个次级环境 (图22-10)。

砂质高能海岸的海岸沙丘位于潮上带的向陆一侧,即特大风暴时潮水所能到达的最高水位,是海岸沙丘的下界。后滨属潮上带,位于海岸沙丘下界与平均高潮线之间,平时暴露地表经受风化作用,只有在特大高潮和风暴浪时才能被海水淹没。前滨位于平均高潮线和平均低潮线之间,属潮间带。近滨也称临滨或滨面,位于平均低潮面和正常浪基面之间,属于潮下带。浪基面以下向浅海陆棚过渡,其间通常有一个明显的坡折,过渡带位于浪基面和这个坡折的折点之间,它实际已属于浅海沉积,沉积物以粉砂为主,过渡带的外侧为滨外陆棚环境。在海岸环境中,从海岸沙丘至临滨及至过渡带,其能量条件总体由强到弱发生变化。
在低能海岸带,以潮流作用为主,为粉砂淤泥质海岸。海岸坡度平缓,具有较宽阔的潮间带 (潮滩),缺失后滨带。
实际上,在海岸地带可沉积反映不同水动力条件的砾岩、砂岩或泥岩等沉积物。
(二) 滨岸亚相类型及沉积特征
按照地貌特点、水动力状况、沉积物特征,可将滨岸相划分为海岸沙丘、后滨、前滨、临滨4个亚相 (图22–10)。
1. 海岸沙丘亚相
海岸沙丘亚相位于潮上带的向陆一侧,即特大风暴时潮水所到达的最高水位,它包括海岸沙丘、海滩脊、沙岗等沉积单元。
海岸沙丘是由波浪作用从临滨搬运至前滨和后滨而处于海平面之上的海岸砂,再经风的吹扬改造而成。常呈长脊状或新月形,宽可达数公里,其沉积物细——中粒,成熟度高,圆度和分选好,重矿物富集。具大型槽状交错层理(图22–11), 细层倾角陡, 可达30°~40°, 层系厚数十厘米,也常出现层系界限为上凸形的前积交错层理及小型变形构造、生物碎壳。

在最大高潮线附近出现的线状沙丘称为海滩沙脊或海滩脊 (被植被覆盖的海滩脊又称为千尼尔沙岗),是在高于平均高潮线的高潮时期和暴风潮时期由波浪堆积起来的,可高达数米,宽数十米,长达数百米至数十公里。它可呈平行海岸的单脊或成组出现,常由较粗的砂、砾石和介壳碎片组成,底部具冲刷面和平行层理,上部具交错层理,细层倾角 7°~28°,多双向倾斜,较陡者倾向大陆,较缓者倾向海洋。
强烈风暴时 (如飓风),海水携带滨岸砂冲越海岸沙丘,在其背后的陆地或盐沼内形成砂质扇形堆积体,它可延伸数公里,厚数十厘米至数米。其砂质层显水平纹层,砂层开始为富介壳层,与下伏沉积物呈侵蚀接触。
2. 后滨亚相
后滨亚相位于海岸沙丘与平均高潮线之间,平时暴露地表经受风的作用,只有在特大高潮或风暴浪时才被海水淹没,并受到波浪、弱水流作用,属潮上带。有水时,沉积水动力较强; 无水时,受风的改造,沉积动力较弱。
后滨亚相沉积物为具平行层理的砂,粒度较沙丘带粗,圆度及分选较好。平行层理砂岩可被小型交错层理中断。当后滨中有较浅的洼地并被充填时,可形成低角度的交错层理。坑洼表面因风吹走了细粒物质而遗留和堆积了大量生物介壳,其凸面向上。坑洼边缘可形成小型逆行砂波层理。浅水洼地内可见藻席,并发育虫孔和生物搅动构造。强风暴常改变后滨形态,在后滨与海岸沙丘交界附近因水的分选可使重矿物在后滨向陆一侧集中而成砂矿。
3. 前滨亚相
前滨亚相位于平均高潮线与平均低潮线之间的潮间带,地形平坦,起伏较少,并逐渐向海倾斜。前滨亚相沉积物以中砂为主,分选较好。层系平直,低角度 (小于8°) 相交的交错层理——冲洗层理发育 (图22——12)。其纹层平行海岸,可延伸达30m,垂直岸线可达10m,纹层倾角取决于颗粒粗细,颗粒越粗,海滩坡度越大,倾角越陡。可大量出现对称和不对称波痕以及菱形波痕,亦常见到极浅水的其他标志,如冲刷痕、流痕、变形波痕、流水波痕、生物搅动构造。
前滨可发育一个或多个不对称的沿岸沙坝,向海缓倾(4°~6°) 并发育低角度交错层理; 向陆陡倾 并发育大型板状和槽状交错层理。
前滨可见有砾石沉积,长轴平行岸线方向,扁平面倾向大海中央方向。前滨下部沉积物分选比上部差,并含有大量贝壳碎片和云母等,贝壳凸面朝上排列。属于不同生态环境的贝壳大量聚集,也可以作为鉴别古代海滩砂体的标志。

4.临滨亚相
临滨亚相位于平均低潮线至浪基面之间的潮下带。临滨亚相常发育沿岸沙坝,波能越弱,沿岸沙坝越少,在低能海岸区,仅有一条沿岸沙坝发育于低潮线附近。在高能沉积地区,可发育多排沿岸沙坝,强风暴潮可夷平沿岸沙坝。在其向陆一侧伴有凹槽,其中发育浪成波痕和小型流水波痕。临滨上部发育有大量砂质沉积物,并发育较大规模的交错层理,越向岸越多,越向
海的深水部位交错层理越渐少,而生物搅动构造增多,且出现水平纹层。越向临滨下部沉积
物越细,并逐渐过渡为过渡带的更细粒泥质沉积。
临滨沉积完全位于水下,不断受到浅水波浪和海流作用。根据波浪作用特点和不同地貌单元的沉积特征,可将临滨沉积细分为上临滨、中临滨、下临滨3个沉积微相。
上临滨紧邻前滨并在涌浪带及破浪带发生沉积 (图22-4)。该处受波浪、潮汐作用影响,沉积了成分和结构成熟度均高的石英砂砾岩,具有大型槽状交错层理、双向交错层理、平行层理和冲洗层理。因上临滨与前滨沉积呈过渡关系,有时不易区分两者的边界。
中临滨处于水深较浅的、地形坡度起伏的破浪带 (图22–4),水动力能力强,沉积物较粗。受波浪破碎作用影响,在中临滨地区可发育一排或多排平行岸线的沿岸沙坝及沙坝之间的凹槽。沿岸沙坝的数目多少与地形坡度大小相关。地形坡度越缓,沙坝数目越多,可达10列以上,沙坝间隔为25m。通常,发育长几公里到几十公里的、2~3排沙坝。随着离岸距离增大,沙坝的沉积水深增加。陡倾的海滩常不发育临滨沙坝。中临滨沉积物主要由较纯净的中细砂岩组成,可夹有少量粉砂层和介壳层,常见较大规模的与波浪作用有关的交错层理。
下临滨临近正常浪基面,是临滨沉积环境水体较深的沉积部位,对应升浪地带,沉积水动力能量较弱,但又常受到风暴流的影响。该带主要发育具有小型交错层理和水平层理的粉砂岩和细砂岩,生物扰动明显。
5. 垂向层序
随着海进、海退的发生,可形成进积型和退积型的海岸垂向沉积层序。一般来说,在古代地层剖面中,以进积型海退垂向层序最常见 (图22–13)。
在进积海岸层序中,根据海岸能量和沉积物组成的不同,可划分为砂质高能海岸、砾质高能海岸及泥质低能海岸沉积层序,其中常见进积砂质高能海岸 (图22-13)。
砂质高能海岸的垂向沉积层序特点是自下而上呈现由细变粗的反旋回,随着沉积环境的变化,沉积物粒度和沉积构造均发生相应变化。

进积型砾质高能海岸垂向层序与砂质海岸类似,不同的是粒度稍粗,在临滨带出现砾岩或含砾粗砂岩。进积型泥质低能海岸沉积是在海岸地形较为平缓的低能条件下形成的,其特征是发育泥岩沉积,其次为粉砂沉积。
二、浅海陆棚沉积特征
(一) 浅海陆棚一般沉积特征
浅海陆棚位于正常浪基面与陆架边缘之间,深度一般10~200m,宽度由数公里至数百公里不等。浅海有两种主要类型,即边缘海或陆缘海,例如现代陆棚; 陆表海,是延伸到大陆内形成的浅海盆地,例如波罗的海、北海等。
陆棚浅水区阳光充足,氧气充分,底栖生物大量繁殖。向陆架边缘深水区方向,因阳光和氧气不足,底栖生物大为减少,藻类生物几乎绝迹。Emery(1968)认为现代陆架沉积物有6种主要类型,即碎屑沉积物、生物成因的沉积物、原地基岩风化产物、自生沉积物、火山沉积物和较早期沉积环境形成的残留物。
影响现代硅质碎屑沉积性质的主要因素有以下6种:(1) 直接由大陆向毗邻陆棚地区供给沉积物的类型和速度; (2) 陆棚水动力状态类型和强度; (3) 决定水深的海平面波动;(4) 影响可供搬运沉积物类型的气候; (5) 生物作用与沉积物物理化学相互作用; (6) 影响浅海陆棚沉积物的化学因素。
古代浅水陆棚相与现代不尽相同。前者有长期的沉积发育史,沉积厚度大,由于海岸线的迁移,沉积物分布面积广泛; 后者发育历史短暂,沉积薄而不广,且大部分为残留沉积物所占据。
浅海陆棚的水动力条件复杂而多样,其中包括流向和强度多变的海流、正常的和风暴引起的波浪、潮汐流以及密度流等。它们对沉积作用的影响常随深度而变化。在陆棚浅水区,潮汐作用的影响虽已微弱,但海流和波浪作用尚有一定影响,仍可形成一定规模的波痕和交错层理。强风暴形成的巨波浪强烈地影响海底,可使沉积物呈悬浮状态向海洋搬运,形成风暴砂层。哈得利 (1964) 指出,凯厄特海受强风暴影响,水深183m处沉积物表面的最大振荡速度达到50cm/s。在陆棚较深水区,仅在风暴浪时海底沉积物才会受到影响,少见波痕、交错层理。
古代滨外陆棚沉积主要为粘土岩、粉砂岩、细砂岩,并有大量化学岩及生物化学岩,如碳酸盐岩,部分铁、锰、铝、磷沉积岩等。碎屑矿物成分成熟度和结构成熟度高,不稳定成分少,圆度及分选较好,但比滨岸相稍差,填隙物多为化学胶结物。海绿石、鲬绿泥石、胶磷矿是常见的自生矿物。粘土岩可含有砂质、铝质、海绿石质、硅质、灰质、沥青质、黄铁矿等。
陆棚可发育对称或不对称波痕及交错层理,水体较深处发育水平层理,尤其在粘土岩中发育薄而清晰的水平层理。常见生物搅动构造、底冲刷、虫孔和虫迹,但没有干裂和雨痕。在较浅水的滨外陆棚区,发育着种类和数量众多的生物,如珊瑚、海绵、苔藓、层孔虫、藻类、腹足类、瓣鳃类、腕足类、棘皮类、有孔虫、头足类等。
古代陆棚沉积多属水体较浅、海底地形平缓的陆表海沉积,现代陆棚多属陆缘海性质。
现代陆棚沉积物主要是粉砂质粘土或粘土质粉砂。在滨外陆棚的近岸浅水区,泥质沉积中常有粗粉砂或细砂的夹层,为强烈风暴期形成的风暴砂层,常发育在距海岸数十公里处,并能向海岸追索。可见对称或不对称波痕及交错层理,生物扰动构造发育。现今研究表明,陆棚地区可存在大面积分布的、具有较大规模层理构造的砂质沉积。
现代滨外陆棚沉积可分为现代的和残留的两种沉积物类型。现代沉积物的来源,其一是河流携带的陆源物质越过滨岸带在此沉积而成; 其二是原地生成,如生物沉积、火山沉积和自生沉积(主要是磷灰石、海绿石等)。残留沉积物是古代地史时期中较老沉积物残留下来的,它是在最后一次冰期之后,因冰川融化造成的世界性范围海侵,使古代大面积滨海砂在现今滨外陆棚区得以残存。据估计,现今滨外陆棚沉积的70%为残留沉积物所覆盖。据中国科学院海洋研究所的研究,我国现代东海大陆棚的沉积物可分成粒度、成因不同的内陆棚和外陆棚两个沉积带。内陆棚接近海岸,沉积物为粉砂、粉砂质泥、软泥等,其分布水深为50~60m,主要由长江及沿岸诸小河流供给的陆源物质组成。外陆棚沉积物由砾石、粗砂、中砂、细砂等组成,以细砂分布最广,其分布水深为10~100m,它们都是古代残留沉积物。
考虑到浅海地区潮汐流、风暴流、海流以及密度流的作用,可将浅海陆棚沉积划分为潮汐控制的陆棚、海流控制的陆棚和风暴控制的陆棚 ( Swift, 1971; Walker, 1879)。
(二) 潮汐控制的陆棚沉积
潮汐是月球对地球表面水的引力产生的,在强潮流地区,流速可达到每秒几十厘米,造成大量泥沙沉积物被搬运。流速较大的优势潮流控制了沉积物的搬运和沉积方向。在优势潮流上游部位多沉积砂砾岩,在下游部位多沉积泥岩。按砂砾岩沉积体的沉积形状和规模,可将由优势潮流形成的大型纵向沉积底形称为沙垄和潮汐沙脊,形成的中小型横向沉积底形称为沙波和沙纹。沙垄、潮汐沙脊和沙波是较为重要的砂砾质沉积 (图22-14)。

沙垄主要发育在水深20~100m、砂级沉积物供给不足的、潮流较大的陆棚地区,表现为平行潮流方向的线状砂体,常由长15km、宽200m、厚小于1m的沙垄和沙带组成。受物源供给的影响,沙垄形态和数量可发生变化 (图22–14)。
沙波形成于物源供给丰富的潮控浅海,是一种较大规模的横向坝形体,是现代潮汐陆棚中特征的沉积底形。沙波延伸方向垂直涨潮与落潮方向,可发育层系厚度达1m、低角度的交错层理。波长为几十到几百米,波高几米到十几米,形态可以对称,也可以不对称,这主要取决于双向潮流的作用强度。
潮汐沙脊主要形成于物源供给充足的、表层潮流速度大于50cm/s的浅海陆棚地区,平行最大潮流方向呈线性、放射状分布。潮汐沙脊高几十米,宽几百到几公里,长达几十公里。
潮汐沙脊常成群出现,脊间距离为几百米到几公里。由于潮流速度的变化,脊线可平直或弯曲。
潮汐沙脊常由分选良好的中细砂岩组成,底部沉积物中可见砾石或生物碎片。潮汐沙脊的横向迁移产生一系列倾向相同或不同的多向交错层理。潮汐沙脊常显示向上粒度变细的沉积序列,顶部为薄层粘土。
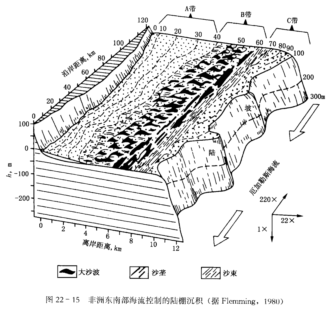
(三) 海流控制的陆棚沉积
海流对临近较深海的外陆棚碎屑沉积也存在影响。规模较大的海流主要与洋流的入侵相关,洋流的速度可达到2m/s,它们搬运沉积物形成沙波。Flemming (1980) 研究了非洲东南部陆棚边缘沉积,发现了较强海流作用形成的沙波 (图22–15)。该处沉积水深约100m,面向印度洋。大陆架外缘海流表层流速可达到150~250cm/s,受其强劲海流影响在陆棚形成了不同的沉积底形 (图22–15)。包括位于内陆棚的、水深小于40m的近岸浪控沉积带(图22-15中的A带),位于中陆棚的、水深40~60m的、一系列纵向分布的、由骨屑砂组成的大沙波 (图22–15中的B带),位于外陆棚的、水深60~1000m的、由骨屑砂和残留沉积砾石组成的沙脊 (图22-15中的C带)。

(四) 风暴控制的陆棚沉积
风暴流沉积的形成与风暴掀起的巨浪密切相关。风暴巨浪强烈冲刷海岸沉积物并使其呈悬浮状态,回流将这些呈悬浮状态的海岸沉积物带回海中,形成砂泥含量很高的密度流。当这些密度流在风暴浪基面之下的安静水体中沉积时,便形成具鲍玛序列的浊流沉积物。当在风暴浪底与晴天浪底之间沉积时,触及海底的巨浪峰谷在这些沉积物表面经过时,由于它的运动无固定方向,从而形成了具丘状交错层理的风暴沉积 (图22–16,图22-17)。

一次风暴形成的风暴层厚度约几十厘米至1m,具特有的垂向沉积层序和沉积构造 (图22–17,图22–18)。由底至顶,沉积物粒度变细,主要由4个部分组成:(1) 具有侵蚀的底界面的粒序层或滞留沉积段; (2) 平行层理砂岩段; (3) 丘状交错层理或浪成交错层理砂岩段; (4) 泥岩或页岩段。
上述垂向层序与风暴作用的过程有着紧密的成因联系。风暴活动通常分为高峰期和衰退期这两个阶段,不同阶段沉积特征各不相同。
风暴高峰期风暴浪引起的涡流及风暴退潮流强烈地冲刷海底,形成明显的冲刷面,并出现工具痕和扁长状的侵蚀充填构造,称为渠模。由于风暴搅动所造成的差异悬浮作用,使较细的物质被簸选并悬浮起来,风暴减弱时,沉积物按粒级粗细先后依次沉积,形成向上变细的粒序层。经风暴簸扬,粗碎屑沉积于最下部,形成滞留沉积,粒序层的上部为细粒悬浮沉积。当粗粒部分有丰富生物碎屑时,可形成贝壳层,常具定向排列。

风暴衰减期是在风暴高峰期之后,风暴减弱,细粒沉积物迅速地从悬浮状态沉积下来,可在贝壳层中形成渗滤组构,如遮蔽孔隙、贝壳或内碎屑层内的遮蔽沉积等。同时,形成了细砂与粉砂组成的纹层段。随着风暴强度的减弱,纹层段内出现不同类型的层理,由下至上依次为:平行层理、丘状交错层理、浪成沙纹层理或浪成上攀沙纹层理。平行层理和丘状交错层理是风暴流最具特征的层理类型,分别是由底部强烈的剪切和浪生振荡水流形成的。
细砂和粉砂组成的纹层段沉积之后,便是风暴过后的风暴悬浮最细粒沉积物和非风暴期悬浮沉积物的堆积,形成了细粉砂和泥互层或以泥为主的泥岩段或页岩段。常发育生物潜穴和生物逃逸痕迹。
在一个沉积剖面上,风暴岩垂向层序往往发育不全,而平行层理和丘状交错层理是典型的风暴层理。
风暴流沉积受水体深度的影响,风暴作用随深度的增加而减小。从内陆棚至外陆棚,风暴及风暴退潮流的影响逐渐减小。因此,风暴岩像浊积岩一样有近源和远源之分。近源性风暴岩相对较厚,粒粗,底部侵蚀构造发育,形成于水体相对较浅的陆棚区; 远源性风暴岩则相反,厚度小,以细粒沉积为主,底界明显,但侵蚀构造不发育,常形成于相对水深的陆棚区。
风暴流和浊流都是密度流,都具有类似向上变细的垂向层序,故风暴岩和浊积岩容易混淆。但两者在成因、形成环境、沉积构造等许多方面都有明显不同 (表22-2)。
表22-2风暴岩和浊积岩的区别
| 特 征 | 风 暴 岩 | 浊 积 岩 |
|---|---|---|
| 形成作用 | 风暴浪作用及风暴退潮流作用形成的 | 密度流流动作用形成的 |
| 形成环境 | 主要出现在正常浪基面以下至风暴浪基面以上的陆棚环境 | 主要出现于深水环境 |
| 层理特征 | 主要有波浪作用及流动成因形成的层理, 如丘状交错层理、洼状交错层理、平行层理、浪成上攀沙纹层理等, 缺少递变层理 | 只有具流动成因的层理, 如递变层理、平行层理, 缺少波浪作用形成的层理, 如缺少丘状交 错层理 |
| 其他沉积构造 | 具侵蚀充填构造, 如渠模及工具痕, 工具痕的方向是变化的甚至是相反的, 并具有渗滤 组构及逃逸潜穴, 缺少槽模 | 主要发育印模及各种工具痕 |
| 垂向层序和分布特征 | 向上变细序列, 但粒序层厚度不均匀, 粒序层与纹层段间的粒度是突变的。侧向分布不稳定, 可变薄、变厚或呈透镜状 | 向上变细序列, 粒序层厚度均匀, 粒序层与平行层段间粒度是递变的。侧向延伸远, 平面扇形。剖面楔形或透镜状 |
三、半深海及深海沉积特征
(一) 半深海相
1. 一般特点
半深海对应大陆坡沉积环境,陆棚边缘坡折带沉积水深一般为90~180m,大陆坡底水深一般为2000m, 深者达3700m (图22–1)。
半深海相沉积主要由泥质、浮游生物和碎屑三部分沉积物组成,来源主要是陆源物质和海洋浮游生物,其次为冰川和海底火山喷发物。
陆坡地带地势较陡,存在较大的重力势梯度,易造成早期沉积物滑坡形成重力流沉积。海底洋流 (等深流) 可搬运大量粉砂级沉积物并在陆坡上堆积下来。风、河流、潮汐和波浪搬运的细粒悬浮物质在较深水区也可发生大量沉积。所以,重力流、等深流和悬浮沉积(还有内波沉积) 是半深海的主要沉积成因类型。
在半深海相中,泥质沉积物所占比重最大。据认为洋流是搬运陆源泥质物在半深海沉积的主要因素。风暴浪对海底的扰动或重力滑动可使沉积于陆棚上的陆源粉砂沿海底以低密度流的形式搬运,并沉积于半深海而成为半深海相碎屑沉积物。海底洋流或顺陆坡等深线流动的等深流也可搬运粉砂物质并在陆坡或陆隆上堆积成透镜状粉砂质砂体。
半深海区阳光可传播到400~500m深度,但光合作用最需要的红光和黄光传播深度却很小,故此环境无植物发育,生物群以腹足类为主,还可见瓣鳃类、腕足类、放射虫、有孔虫等。由于虫迹等生物搅动,泥质沉积不显层理。在无生物扰动的情况下,亦可出现纹层。
2. 沉积类型
古代半深海相沉积主要是质纯色暗的广泛分布的泥岩。现代半深海相沉积可归纳为下述几种类型。
(1) 蓝色软泥:是现代半深海相中分布最广的类型,成分以陆源粉砂质粘土为主,亦夹有大洋产物。钙质含量小于35%,颜色为天蓝、灰绿、铅灰或青灰色,故又称为青泥,含H₂S,为还原环境下形成,可形成含有机质的蓝色页岩。
(2) 红色和黄色软泥:是蓝色软泥的变种,以粉砂质粘土为主,含有碳酸盐,主要分布于热带和亚热带半深海或浅海陆棚区。
(3) 绿色软泥:因含海绿石而呈绿色,其成分为粘土、硅质生物、少量钙质及碎屑物质(主要为海绿石,其次为石英、长石、云母),如英国白垩系发育的绿色页岩即为半深海相绿色软泥成岩的产物。
(4) 碳酸盐软泥和砂:碳酸钙含量可达18%~90%,浮游生物含量高,砂粒为细砂和粉砂。以含钙高区别于青泥,以含粗粒物质多而区别于深海相钙质软泥。
(5) 珊瑚泥和珊瑚砂:在珊瑚礁形成的岛屿周围的陆坡上,堆积了因礁体的破坏而形成的钙质碎屑和钙质软泥,称珊瑚砂和珊瑚泥。珊瑚砂中常伴有软体类、棘皮类、有孔虫类碎屑,主要分布于半深海相的上部。
(6) 火山泥:是火山爆发形成的火山灰堆积于半深海区而成。常为暗灰、棕或灰黑色,粒度比青泥稍粗,成分主要为火山玻璃、黑云母、透长石等,碳酸盐含量低于28%。
(7) 冰川海洋沉积:邻近冰川发育区的半深海中可见冰川沉积物,成分主要为粘土和分选很差的砂、砾,多发育在两极附近的半深海中。
3. 等深流沉积
等深流是发生在半深海地区沿大陆坡坡脚等深线流动的远洋底流,等深流沉积主要出现在陆隆区,这个概念最早由 Heezen(1966) 提出。现代深海调查表明,起因于深水地转流的等深流是常见的底流类型,从水深超过5000m的深海平原到水深500~700m的较深水台地都存在等深流沉积。最常见的等流沉积包括泥级、粉砂级、砂级、细砾级和灰泥及生物屑沉积。Faugeres(1984) 在研究北大西洋东缘现代等流沉积时,发现等深流沉积垂向序列有一定规律性,即自下而上依次为泥质等深岩、斑状粉砂质和泥质等深岩、具粉砂岩层的斑状等深岩、粉砂质—砂质等深岩、具粉砂岩层的斑状等深岩、斑状粉砂质和泥质等深岩、泥质等深岩 (第二十三章将有详细介绍)。
(二) 深海相
1. 一般特点
深海相发育于大洋盆地,水深在2000m以下,平均深度为4000m(图22–1)。
深海底阳光已不能到达,氧气不足,底栖生物稀少,种类单调,故不能形成底栖生物的显著堆积。
现代深海沉积物主要为各种软泥,其中大部分属远洋沉积物,即多半是繁殖于大洋上层的微小浮游生物的钙质和硅质骨骼下沉堆积而成的软泥,另一部分为底流活动、冰山搬运、浊流、滑坡作用形成的陆源沉积物,以及局部地区各种矿物的化学和生物化学沉淀作用形成的锰、铁、磷等沉积物。此外尚有少量风吹尘、宇宙物质等。
深海底层温度一般稳定在1℃左右。现代深海的许多地区存在着流速达4~40cm/s的强烈底流,它可引起沉积物的搬运,并在沉积物表面形成波痕、冲刷痕、水流线理、交错层理等。深海沉积物的波痕可以是对称的、舌形的、新月形的,波长从十厘米至数米,波高可达20cm或更高。
2. 沉积类型
谢泼德 (1963) 曾对现代深海沉积物进行过分类。现将其主要类型分述于下。
(1) 棕色粘土 (红色粘土):约占深海沉积的38.1%,大多数深海底大面积覆盖着红色或棕色粘土。它主要为粒径小于 2mm的粘土矿物和其他陆源稳定矿物的残余,以及火山灰、宇宙尘等,常含放射虫及少量有孔虫,碳酸盐含量小于30%。
(2) 抱球虫软泥:与红色软泥共同构成深海最主要的沉积物,主要由各种浮游有孔虫,特别是抱球虫的介壳组成,此外颗石藻类的碎片、放射虫介壳、硅藻和翼足虫也是大量的,非生物组分含量少,碳酸盐含量大于 30%。
(3) 翼足虫软泥:主要由翼足虫 (抱球虫的变种) 的文石壳及大量的浮游有孔虫组成,碳酸钙含量平均约79.25%,常呈白色至浅褐色。主要分布在热带和亚热带海底隆起和礁上,分布水深为 1500~3000m,因为深度大时,翼足虫介壳易溶解。
古代翼足虫石灰岩在寒武纪以后各地质时期有产出,但成层不厚; 现代翼足虫软泥主要分布于大西洋中脊斜坡、巴哈马、百慕大等台地斜坡。
抱球虫、翼足虫软泥都属于灰质软泥。随深度增加,碳酸盐溶解作用加强,导致它们的含量减少,至6300~7200m则含量接近于零,并为硅质软泥所代替。
(4) 放射虫软泥:放射虫壳含量常大于50%,呈红色。放射虫抗溶解作用强,故可分布在很深处。现代放射虫软泥在横穿赤道的太平洋中水深4600m、宽200km的地带分布最广。
(5) 硅藻软泥:由50%或更多的硅藻组成,非生物成分约20%,主要由粉砂级颗粒组成,呈黄色。海洋中的硅藻分布在温度较低的地区,沿太平洋的南纬60°线,硅藻软泥呈宽1500km的带状分布,在北太平洋呈斑点状存在,少数也产于热带海洋。
(6) 锰结核:是深海沉积中分布最广的自生沉积物,其大小一般不超过25cm,它具有明显的同心层,表明其沉积是间歇性的。锰结核在深海底分布广、数量多、局部集中,其经济价值已受到人们的重视。
(7) 浊流沉积:在深海相中常发育有重力作用形成的浊流沉积,它可形成较大的沉积厚度和较广的沉积面积,而且现在所见到的古代深海沉积也主要是浊流沉积(第二十四章将有详细介绍)。
第三节 海相组沉积鉴别标志及其与油气关系
一、海相主要鉴别标志
(一) 滨岸相主要鉴别标志
(1) 岩矿特征:一般说海岸沉积的砂质较纯,石英等稳定组分含量高,重矿物相对较富集,圆度、分选较好,成分成熟度和结构成熟度较高。
(2) 粒度分布特征:海岸砂的粒度分布特征较均一,概率图上显示跳跃总体发育,斜率大、分选好,有时明显地存在着两个跳跃次总体,这是由于波浪的冲刷与回流作用造成的(图22-8)。
(3) 沉积构造特征:临滨带发育槽状和板状交错层理,临滨下部可见水平层理及生物潜穴。前滨带发育有大型海滩冲洗交错层理,沿层理面见有水流线理或剥离线理,沿层面还常发育有各种浪成波痕、菱形波痕、细流痕以及其他层面构造。其中尤以大型冲洗交错层理是海岸沉积最典型的标志 (图22–12, 图22–13)。
(4) 生物学特征:海岸沉积中常含有数量不等的各门类海相生物及其碎片,有时在滨线一带可形成薄的介壳层,它们多属于不同生态环境的生物所构成的生物组合。生物介壳一般都具有破碎、磨损和圆化现象。
(5) 垂向沉积层序:多为进积型下细上粗的反旋回沉积序列 (图22-16)。
(6) 砂体形态:平行岸线的、成排的线状分布砂体。剖面上常呈下平上凸的透镜状或席状。
(二) 浅海相主要鉴别标志
除了沉积结构、构造、砂体形态等沉积相标志外,识别古代浅海沉积物最可靠的标志是那些受海水盐度和深度控制的海相化石和地球化学参数特征。
受盐度和盐度变化控制的无脊椎动物化石是区分古海洋环境和非海洋环境最可靠的手段(图22-2)。浅海环境中多生活狭盐性生物种属,且生物种的分异度低。
遗迹化石是推断没有遗体化石浅海环境的重要标志。陆棚环境特有的遗迹化石主要是记录从悬浮物中摄食的动物活动遗迹。
浅海陆棚发育风暴流沉积,丘状交错层理及其沉积序列是判别浅海陆棚的重要标志。
浅海陆棚最特征的自生矿物是海绿石、鲕绿泥石等铁硅酸盐类和一些磷酸盐类矿物。
浅海陆棚沉积物具有较高的成分和结构成熟度,潮汐控制的和海流控制的陆棚砂体形态和沉积层序也是判别浅海陆棚的标志。
(三) 较深海相主要鉴别标志
半深海和深海沉积以颜色暗、质地纯、厚度大、分布广、富含有机质的泥岩、硅岩以及碳酸盐岩为特征。
浊流沉积也是判别较深海沉积的重要标志。
二、海相组沉积与油气的关系
目前在海相矿产资源中,石油和天然气仍居首要地位。现已探明的海上油气田,绝大多数都分布在广阔的大陆架上。据世界大陆架油田开发资料统计,现今大陆架总面积的75%为沉积盆地所占据,而它们的绝大多数是中、新生代开始沉降和发育的年轻沉积盆地,沉积厚度巨大,有的可达万米以上。大陆架地区适合有机物的大量堆积和埋藏,发育多种成因类型的储集岩以及广泛分布的盖层,从而为油气的生成和聚集提供了良好的地质条件。
在碎屑滨岸相中,发育各种类型的、分选磨圆好的、储层质量高的砂体,是油气储集的良好场所,如中国西部塔里木盆地东河砂岩便是滨岸成因的产油砂岩。现今,人们对浅海陆棚不同成因类型的砂体也给予了高度重视。半深海和深海暗色泥岩和浊流砂岩沉积具有油气生成和聚集的组合条件,可形成岩性油气藏,如美国洛杉矶盆地古近系、新近系深海浊流成因油气田。
