第十一节 浅海陆架相
一、 概述
浅海陆架环境包括临滨以外至坡折之间部分(图5-91),亦常称之为陆架(shelf)或陆棚。其上限位于浪基面附近,下限水深一般在 200m 左右,宽度由数千米至数百千米不等。我国的东海大陆架是世界上最著名的宽阔陆架之一,宽度 100~500km 不等,水深一般在 50m,最大的深约180m,而日本群岛的大陆架只有4~8km 宽。浅海陆架的水动力条件复杂多样,其中包括有海流、正常的波浪和潮汐流、由风暴引起的波浪和潮汐流等,它们可以单独或共同作用来控制和影响浅海陆架沉积物的搬运和沉积但一般来讲,这种影响有随深度加大而减弱的趋势。
陆架浅水区(内陆架,inner shelf)阳光较充足,水扰动可使底层水中氧气充分,底栖生物大量繁盛;而深水区(外陆架,outer shelf)则因阳光和氧气不足,底栖生物大为减少,藻类生物几乎绝迹。
按位置和水深,陆架可分为内陆架和外陆架(图5-91),前者砂泥互层,后者以泥质沉积为主。按主要的优势水动力条件,Swif(1971)将浅海陆架划分为三类:潮控陆架风暴控陆架、海流控陆架。

二、潮控浅海陆架环境和沉积特征
(一)潮控浅海陆架的环境特点
潮汐主要是由于月球对地球表面水的引力产生的。内海或与大洋只有一个小的连接口的海通常无潮汐或仅有弱的潮汐。在开阔大洋,潮流是椭圆的轨迹;而在陆架较局限的海区中,由于海底的浅滩效应和盆地底形的约束,水质点可以表现为直线型的往返模式;在开阔陆架宽阔的海湾中,由于地球自转产生的科里奥利效应可使潮流经常改变方向,使水质点在平面上沿着椭圆形的路线前进,形成回转潮流。回转潮流在北半球多为逆时针方向旋转;在南半球多为顺时针旋转。
在强潮陆架,大潮表层流速可达60~100cm/s。当潮流穿过狭窄的水域如马六甲海峡、英吉利海峡、琼州海峡时,其速度还会增大。潮流能量的绝大部分消耗在与海底的摩擦中。潮流能够有效地搬运大量泥砂沉积物质。由于潮流的涨落速度和持续时间常常不等,在直线型的往复潮流中,流速大的优势潮流决定了沉积物的主要搬运方向;而在回转潮流中,涨潮流和落潮流沿着相互不同的流动路线前进,这都使得潮流搬运沉积物的路线基本是单向的,经其他海流加强的潮流可以加强沉积物搬运的这种方向性。
(二)潮控陆架的沉积特征
潮控陆架沉积物有砾、砂、泥。顺优势潮流方向上游为砾石区,中游为砂区,泥区常位于潮流搬运路线的末端,由于波浪干扰大部分泥区水深超过30m,按砂砾沉积体形状、规模、内部构造, 可以分为大型纵向沉积底形的沙垄 (sand wave)、潮汐沙脊 (tidal ridge)、中小型横向沉积底形的沙波和沙纹 (sand ripple)及沙斑等,其中以沙垄、沙波、潮汐沙脊最为重要 (图5-92)。
1. 沙垄
沙垄主要发育砂级沉积物供应不足、潮流流速大的海区,表现为平行潮流方向的纵向砂体。常由长达15km、宽200m、厚度不超过1m的沙垄和沙带组成,其间为砾石条带。沙垄的发育水深一般在20~100m之间。
2. 沙波
沙波是一种大型的横向坝形体,形成于富含砂质的潮控浅海,是许多现代潮汐陆架中具有特征性的底形。波长范围在几十到几百米之间,波高在几米至十几米。沙波的形态可以是对称的,也可以是不对称的,不对称的沙波主要由双向潮流强度不等造成的。波脊可以由长而平直过渡到弯曲断开,方向不断变化的潮流可以在沙波上形成一系列低角度的 (5°~ 15°)再作用面。沙波表面带叠加有频繁迁移的波痕,可以形成多种交错层理。

在陆架浅水区,波浪的作用可以破坏沙波的形成,故沙波一般发育在浪基面以下至潮汐水流作用的极限深度之间。
3.潮汐沙脊
潮汐沙脊是平行于或近平行于最大潮流方向的水下凸起沙坝。沙脊一般高10~15m,最高可达40~50m,宽约几百米,长则达几千米,至几十千米,长宽比通常大于40:1,脊线平直或弯曲。潮汐沙脊常成群出现,脊间距离一般几千米,水深数十米,而脊峰处水深一般几米至十几米。

潮汐沙脊一般形成在沙源充足的地带,表层潮流速度要超过50cm/s。按分布特征,潮汐沙脊可以分为四类:(1)平行海岸的潮汐沙脊,如西欧北海南部;(2)岸外放射状潮汐沙脊,如我国南黄海的辐射沙脊群 (图5-93);(3)河口湾潮汐沙脊;(4)海峡潮汐沙脊。
潮汐沙脊两侧的潮流一般为反方向的双向流,沙脊沿较弱水流的方向侧向迁移。沙脊的形态在横剖面上不对称,一侧具有较陡的坡面朝向沙脊的迁移方向。
潮汐沙脊通常由分选良好的细一中砂组成,含有贝壳碎片。底部冲刷面之上可出现砾石、粗的贝壳碎片等组成的滞留沉积,平面上这些滞留沉积主要分布在脊间的沟槽中。在潮流的作用下,砂级沉积物的搬运是由沟槽底部向沙脊顶部进行的,这有些类似于曲流沙坝的形成。潮汐沙脊的侧向迁移可以形成一系列倾向相同或不同的交错层理,同时形成了整体向上变细的垂向沉积序列,但如果沙脊是由近岸带向外陆架纵向迁移,则在该方向上形成下细上粗的逆旋回。
双向或多向交错层理、再作用面、薄的粘土夹层也是潮汐沙脊中常见的沉积现象。
三、风暴浪控浅海陆架环境和沉积特征
现代风暴浪控浅海陆架多为陆缘海及面向盛行西风的陆架,如白令海陆架、华盛顿-俄勒冈陆架、我国的东海陆架和南海陆架。而半封闭和背风陆架,风暴作用不强烈,如美国东部陆架、我国黄海陆架等。
(一)风暴浪控浅海陆架的环境特征
正常天气的波浪除了对浅滩顶部有影响以外,对整个大陆架的沉积作用影响很小。而季节性的台风或飓风所引起的风暴浪波及的深度远远大于正常天气,一般超过40m,最大可以达到200m。
猛烈的风暴浪在向岸方向传播时,巨大的能量可以在沿岸地带形成雍水,使水平面大幅度抬升形成风暴潮,对海岸地带进行强烈的冲刷。风力减退时,风暴回流(退潮流)携带大量从临滨带冲刷侵蚀下来的碎屑物质呈悬浮状态向海洋方向搬运,形成一个向海流动的密度流。这种流体的流速很高,在大陆架上穿越的距离可达几十千米以至几百千米,对海底有着明显的侵蚀和冲刷。随着能量衰减,流速变小,密度流中的碎屑物质发生再沉积作用,形成浅海风暴流沉积(图5-94)。

(二) 浅海风暴流沉积特征
一次风暴形成的风暴层厚度约几厘米至几十厘米,向上粒度变细。一个完整的风暴沉积层序由下向上包括四个部分:(1)粒序层或滞留沉积段 (Sa),有侵蚀的底;(2)平行层理段 (Sb); (3) 丘状交错层或浪成交错层理段 (Se); (4) 泥岩和页岩段 (Sd) (图5-95、图5-96),构成似鲍玛层序。
上述垂向层序与风暴作用的过程密切相关。风暴活动过程可分为成长期、高峰期、衰减期和停息期几个阶段,不同阶段沉积特征各不相同。


泥或以泥为主的泥岩段,以及正常天气条件下所形成的页岩段,常发育生物潜穴和生物逃逸痕迹。
丘状交错层理和浪成沙纹层理是风暴浪沉积的最好证据。
风暴沉积层序总的来说是一个向上变细的旋回,但在一个沉积剖面上往往发育不全。
风暴流(storm current) 和浊流 (turbidity current) 都是密度流, 都具有类似向上变细的垂向层序, 故风暴岩 (tempestite) 和浊积岩 (turbidtite) 容易混淆。但二者在成因、形成环境、沉积构造等许多方面都有明显不同。二者的区别见表5-5。
表5-5风暴岩和浊积岩的区别
| 特 征 | 风 暴 岩 | 浊 积 岩 |
|---|---|---|
| 形成作用 | 风暴浪作用及风暴回流作用 | 密度流的流动作用 |
| 形成环境 | 主要出现在正常浪基面以下至风暴浪基面以上的陆架。环境 | 主要出现于陆架以外的深水环境 |
| 层理特征 | 主要有波浪作用及流动成因形成的层理,如丘状交错层理、平行层理、浪成上攀沙纹层理等 | 只有具流动成因的层理,缺少波浪作用形成的层理 |
| 其他沉积构造 | 具侵蚀充填构造,如渠模及工具痕,工具痕的方向是变化的甚至是相反的,并具有渗滤组构及逃逸潜穴 | 主要发育印模及各种工具痕 |
| 垂向层序 | 粒序层厚度不均匀,可变薄、变厚或呈透镜状。粒序层与纹层段间的粒度是突变的 | 粒序层厚度均匀,侧向延伸远,粒序层与平行层段间粒度是递变的 |
风暴岩和浊积岩可以共生(图5-94)。浊积岩位于风暴岩之上,表示为海进层序;浊积岩位于风暴岩之下,表示为海退层序。如贵州南部中三叠统新苑组地层剖面层序的下部出现风暴流沉积,中部出现浊流沉积,上部出现等深流沉积,属于陆架-斜坡的海进层序;加拿大阿尔伯达侏罗系费尔尼组风暴流沉积剖面,下部为浊积岩,向上变为具丘状交错层理砂岩的风暴流沉积,顶部为海滩沉积,是一个典型的海退相序。
四、海流控浅海陆架环境和沉积特征
(一)海流控浅海陆架环境特征
海流对大陆碎屑沉积亦存在影响,规模较大的海流主要与洋流的入侵有关,洋流的速度可以从几厘米/秒至200cm/s以上。虽然巨大的洋流位于陆架边缘的向洋一边,但大洋水和陆架水之间却经常交换,表现为大的涡流旋转离开主流到外陆架上去。一般地,外陆架受强劲海流的影响,中陆架主要受环流控制,内陆架则主要受沿岸流的影响。
(二)海流控浅海陆架沉积特征
总体上讲,对海流控浅海陆架沉积的研究还比较少。不同的海流所形成的沉积物会有一定的差别。
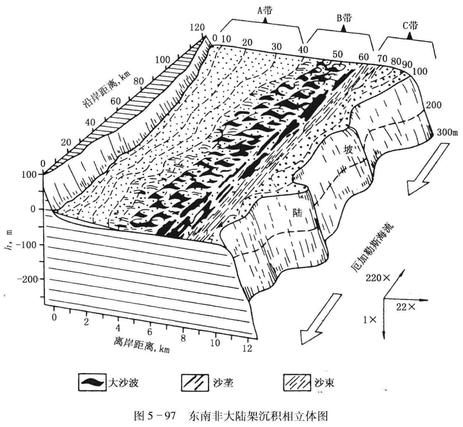
受强劲海流影响的外陆架可以东南非洲大陆架为例 (图5-97)。东南非洲大陆架外缘水深约100m,直接朝向广阔的印度洋。大陆架下部的大陆坡较陡 (12°),使厄加勒斯海流能量影响外陆架。在大陆架外缘,海流表层流带可达150~250cm/s。在海流的影响下,东南非洲大陆架沉积物具有明显的分带性:A带 (水深小于40m)为近岸浪控沉积带;B带(水深40~60m)为骨屑砂沉积,形成一系列纵向展布的大沙波;C带 (水深60~100m)内侧为骨屑砂,形成一系列平行海流方向的沙垄,外侧则为残留沉积的砾石层。

在北黄海中部、南黄海中部以及东海东北部发育有三个小型环流。环流中心流速较小,表面流速一般为5~15cm/s,越向下流速越小 (刘敏厚等,1987),流速值沿半径向外逐渐增大,达到最大后因外围阻力而逐渐减小。由于受流速值的分布控制,环流中心沉积物主要为泥。向外,粉砂的含量逐渐增多,使流控陆架泥质沉积成补丁状分布。环流沉积多发育在波浪、潮汐作用不强的外陆架 (沈锡昌等,1993)。
五、浅海陆架相与油气的关系
外陆架泥岩生物丰富,富含有机质,具有生烃潜力;内陆架上的各种砂体是良好的储层。因此,陆架沉积构成有利的生储盖组合。
塔里木盆地志留系中下部的沥青含油砂岩部分属于浅海陆架相。陆架正常沉积由不等厚互层的深灰色、灰绿色较厚层泥岩以及泥质粉砂岩、粉砂岩组成。泥岩具水平层理和小型波纹层,在泥岩层面上发育较多的生物扰动构造,包括层面生物遗迹蛇形迹、网状迹等以及钻入泥岩内部的U形迹。粉砂岩中具有微细波状交错层理、透镜状层理等沉积构造。可见腕足类、海百合茎、植物化石碎片和完整的双壳类化石。该区还发育风暴沉积,由灰绿色、深灰色泥岩和泥质粉砂岩、粉砂岩及细砂岩不等厚互层构成。具有截切构造、丘状交错层理、同生角砾、冲刷面等特征沉积构造 (图5-98)。地震上具有中低频中强振幅较连续层状反射特征。

